Have a question? Give us a call: +86 13660586769

Apple is developing a two-way wireless Qi charging box that can be used without Lightning

Source: IT House

Foreign media appleinsider released a patent for wireless charging technology that Apple applied for today. The patent shows that Apple is developing a dual-coil wireless charging technology that can be used without relying on Lightning for a completely wireless iPhone.

1214-iwpcxkr5543571

One way of wireless charging is to use a coil to generate short-distance induced current and self-induced electromotive force, so as to connect the device to the power supply and realize the energy transfer. Among them, the coil exists as a basic element for receiving electromagnetic induction.

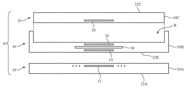
In a patent filed in May 2019, Apple described a two-way wireless charging smart battery case that uses dual coil charging. The patent shows that the battery box is equipped with a built-in battery, which can use the second coil to power the connected device (iPhone) when the circuit is disconnected. At the same time, the first coil can be used to charge the built-in battery, and the two do not affect each other; When in the closed state, that is, when current flows through the first and second coils at the same time, the power received by the first coil can be directly used to charge the device connected to the second coil.

eeb4-iwpcxkr5542183

Well-known Apple analyst Ming-Chi Kuo predicted in 2019 that Apple will completely abandon the Lightning interface and switch to a completely wireless mode in 2021, and then broke the news @Jon Prosser and @choco_bit agreed with this statement.

a2d7-iwpcxkr5542807

Post time: Jul-18-2020