Have a question? Give us a call: +86 13660586769

Apple foldable iPhone patent exposure: unique design of flexible screen

In the current high-end market, both Huawei and Samsung have launched high-end phones with folding screens. Regardless of the actual application of the folding screen mobile phone, this represents the manufacturing strength of the manufacturer. As a traditional overlord in the field of high-end mobile phones, Apple has also shown a strong interest in folding screen phones.

According to foreign media reports, Apple's foldable iPhone or iPad may contain a flexible casing that protects the screen and hardware of mobile devices, while also responding to the strict requirements for opening and closing of mobile phones.

A few days ago, the US Patent and Trademark Office granted Apple a new patent called "Foldable cover and display for an electronic device". The patent shows how to create such a smartphone with a flexible display and overlay.

In the patent document, Apple describes the use of a flexible cover layer and a flexible display layer in the same device, both of which are coupled to each other. When the phone is folded or unfolded, the two-layer configuration can move between two different structures. The cover layer is bent at what is called a "foldable area".

1

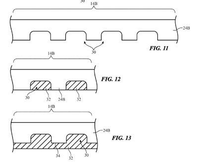
The foldable area of the cover layer can be created using materials such as glass, metal oxide ceramics, or other ceramics. In some cases, the cover layer may contain a layer of ceramic material to provide an impact or scratch resistant surface, and the display layer may also contain another layer of material.

However, this is not the first time Apple has applied for a technology patent related to a folding screen. Earlier, the US Patent and Trademark Office issued an Apple patent display titled "Electronic Devices with Flexible Displays and Hinges", which proposed a design for a mobile device that should include a flexible display in a foldable housing .

2

Apple plans to cut a series of grooves inside the glass, which will give the glass a high degree of flexibility. This process is called slitting in wood, and these grooves are made of elastomeric polymers with the same refractive index as glass. Or fluid filled, and the rest of the display will be normal.

3
4

The patent content is as follows:

· The electronic device has a hinged folding structure, allowing the device to be folded around its axis. The display may overlap with the bending axis.

· The display may have one or more layers of structure, such as grooves or corresponding cover layers. The display cover layer may be formed of glass or other transparent materials. The groove may form a flexible portion in the display layer, which allows the glass or other transparent material of the display layer to bend around the bending axis.

· The groove can be filled with polymer or other materials. The display layer may have an opening filled with liquid, and in the display layer composed of a flexible glass or polymer structure, a corresponding groove may be filled with a material having a refractive index matching the glass or polymer structure.

· The separated rigid plane gaps can form hinges. The rigid planar layer may be a glass layer or other transparent layer in the display, or may be a housing wall or other structural part of the electronic device. A flexible layer that is flush with the opposite surface of the rigid planar layer can also be used to span the gap to form a hinge.

From the perspective of patents, Apple's mechanical folding by using soft materials is not too complicated, but this method requires higher manufacturing.

A Taiwanese media said that Apple will launch the folding iPhone as soon as possible in 2021.


Post time: Jul-10-2020